
炒股就看金麒麟分析师研报,巨擘,专科,实时,全面,助您挖掘后劲主题契机!
开始:瑞度
文/程孟瑶
与长飞光纤(601869.SH)废除框架融合左券刚畴昔半个月,长盈通(688143.SH)接着公告了拟收购武汉生一升光电科技有限公司(简称:生一升光电)100%股权的音讯。
长盈通筹议以刊行股份及支付现款的阵势促成本次收购,同期召募配套资金。因往复尚存在不屈气性,长盈通股票自2024年11月1日(星期五)开市起停牌,展望停牌时间不卓著5个往复日。
本次收购,将帮生长盈通引入光器件及微默契拼装产物,进一步蔓延产业链布局。
10月31日晚间收购公告挂出前夜,长盈通股价抢跑,当日收盘大幅收涨19.39%,报27.58元/股,总市值33.75亿元,激发市集对其或涉内幕信息知道猜念念。
复牌日前日,长盈通又发布展期复牌公告称,2024年11月8日(星期五)上昼开市起连接停牌,展望连接停牌时间不卓著5个往复日。
01
事迹“变脸”
长盈通配置于2010年,主要从事光纤陀螺中枢器件光纤环及特种光纤关联产物的研产销,产物包括光纤环器件、特种光纤、新式材料、高端装备、特种线缆等,主要用于惯性导航系统,客户以光纤陀螺行业技能实力发轫的著明军工企业或科研院所为主,最终客户为军方。
资历头3年的“烧钱”,5年资金压力煎熬,2018年长盈通坐褥的特种光纤全面赢得了客户的考据通过,迟缓过上“好日子”。
2022年,长盈通入选国度级专精特新“小巨东说念主”企业,同庚12月登陆科创板,刊行价35.67元/股,召募资金净额7.55亿元,用于特种光纤光缆、光器件产能缔造神气、研发中心缔造神气以及补充流动资金。截止2024年6月30日,其召募资金账户余额2.24亿元。
头顶国内“光纤环第一股”,长盈通的股价在上市首日大涨超40%。关联词,上市次年长盈通事迹“变脸”,本次收购也被外界视为扭改行绩粗放之举。
2022年长盈通终了买卖收入3.14亿元,同比增长19.79%;2023年长盈通终了营收2.20亿元,同比大幅减少29.82%;净利润1563.24万元,同比下跌80.73%;归母净利润下滑80.72%;扣非净利润由盈转亏至-412.16万元,降幅达105.84%。
值得驻防的是,长盈通的买卖收入有不少是“打白条”。2023年其应收账款余额已卓著当期买卖收入。截止2024年9月末,其应收账款及应收单据余额为3.4亿元,较期初加多5235.61万元,是买卖收入的1.44倍(已年化处理)。2022年和2023年,长盈通应收账款盘活率分袂为1.53次、0.9次。本年1-9月,长盈通已计提信用减值赔本1337.15万元,卓著2023年全年。
大王人应收账款不仅加多坏账风险,也影响着长盈通的现款流。2021年-2023年,长盈通筹划性现款流分袂为5877.59万元、3296.65万元、2062.37万元,连气儿大幅下跌,本年1-9月净流出6279.2万元,造血材干严重下滑。
在此布景下,长盈通试图向价值链上游拓展,开拓新的业务增长点。2023年11月,长盈通新式材料产业园落户武汉光谷。该神气总投资5亿元,具体缔造内容为:依托长盈鑫缔造光纤涂覆树脂、光纤并带树脂、光纤着色树脂、光纤陀螺配套胶、海防珍惜胶等的研发坐褥线,建成后产能达1200吨/年;依托长盈通热控缔造热控材料、热控组件以及热处治系统的研发坐褥线,建成后产能到3000万片/年。
此外,长盈通IPO募投神气特种光纤光缆、光器件产能缔造神气及研发中心缔造神气召募资金投资额4.4亿元,截止2024年6月投资过程达23.88%,展望2025年12月底前建成投产。这也意味建成投产之前,长盈通的盈利将捏续承压。
02
难懂东说念主程琳
本次收购的方向生一升光电配置于2016年5月,注册成本1818.18万元。聚焦光通讯器件的技能筹议、产物设备、坐褥制造及做事,当今与光迅科技、点火通讯、海信宽带、永鼎光电子、仕佳光子等企业达成策略融合伙伴忖度。收购生一升光电,长盈通能径直联贯其客户资源。
生一升光电当今共有三个鼓吹,武汉创联智光科技有限公司(简称:创联智光)捏股45%;李龙勤捏股27.5%,同期为实质适度东说念主;宁波铖丰皓企业处治有限公司(简称:宁波铖丰皓)捏股27.5%。
穿透后,其股权分属10位当然东说念主,让东说念主颇为介怀的是当然东说念主程琳和李鹏青。两东说念主在2024年5月接办创联智光75%股权,成为生一升光电障碍鼓吹。李鹏青在2024年4月卸任生一升光电总司理职位,当今无任何职位,障碍捏股18%;程琳上任司理一职,同期手脚法东说念主,在生一升光电的最终受益股份为15.75%。
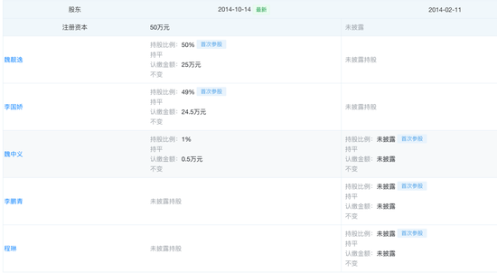
程琳和李鹏青是老搭档了,系结在一齐的还有魏靓逸、李国骄,两东说念主是创联智光最早的首创东说念主,当今均为生一升光电董事。
2016年3月,魏靓逸、李国骄联手配置创联智光,注册成本20万元,随后王瀚加入。然则到了2024年5月,魏靓逸、李国骄同期退出,程琳、李鹏青分袂接办两东说念主注册成本。当今创联智光由程琳、李鹏青、王瀚鸠适应度,三东说念主分袂捏股30%、40%、25%。魏靓逸未捏股,但兼任法东说念主、推行董事、司理、财务崇敬东说念主职务。
四东说念主还也曾一同投资过武汉宏卓科技有限公司(简称:武汉宏卓),不外与创联智光的股权变更不同,武汉宏卓由程琳、李鹏青、魏中义在2014年2月共同配置,同庚10月魏靓逸和李国骄加入,程琳、李鹏青退出。2024年2月,魏靓逸、李国骄、魏中义同期退出,退出时捏股比例分袂为50%、49%、1%。武汉宏卓当今由龚智和王菲分袂捏股 59%、41%。
天眼查信息裸露,除了生一升光电和创联智光,程琳当今还关联有1家企业:武汉启辰光电科技有限公司(简称:启辰光电)。程琳捏有启辰光电55%股份,同期为法东说念主、控股鼓吹、实质适度东说念主,兼任推行董事,司理,财务崇敬东说念主职位。
启辰光电对外投资有武汉光启源科技有限公司(简称:光启源科技),2021年11月和2022年1月,光启源科技分袂拿到了丰禾基金、光谷成长创投天神轮,以及梧桐树成本的Pre-A轮融资,当今注册成本516万元。相较生一升光电,光启源科技孤苦行走的长进更为乐不雅。
然则在2024年7月,也即是程琳入股生一升光电2个月后,并购音讯发出前3个月,程琳退出了在光启源科技的通盘职位,一齐退出的还巧合任董事的文小焕和魏靓逸,新增的董事中,高申为梧桐树成本处治合鼓吹说念主。文小焕当今捏有启辰光电另外45%股权。
光启源科技配置于2021年6月,运行注册成本300万元,配置之初由武汉启源光电合股企业(有限合股)和武汉启辰光电合股企业(有限合股)分袂捏股75%、25%。两者的推行事务合鼓吹说念主均为启辰光电,当今捏有份额2%。启源光电(有限合股)由程琳发起配置,2022年8月退出前,其个东说念主捏有78%份额。
从时间轴来看,创联智光配置于2016年3月,生一升光电配置于2016年5月,启辰光电配置于2021年5月,光启源科技配置于2021年6月。这些企业注册地址均位于武汉光谷,而且与程琳忖度密切。
通过创联智光障碍捏股生一升光电,退出光启源科技的通盘职位,仅通过启辰光电障碍留有2%的股权,然后卖掉生一升光电,程琳的出现也给这笔并购加多了一些念念象空间。
03
废除合约赔本千万利润
不得不提的还有,因提前与长飞光纤废除框架融合左券,承担1500万元的负约牵累,导致非庸俗性损益加多,长盈通的盈利压力进一步加多。
2022年3月,长盈通与长飞光纤下了为期4年的业务融合框架左券,商定2022年-2025年长盈通从长飞光纤年度采购的绕环用保偏光纤的用量不低于5.33A公里(以A指代公司2020年与长飞光纤将强的框架左券中累计采购总长区间达到第一档优惠价钱的采购量,其他数据均选拔其对A的相对值列示),年度采购暂定推行价钱为0.93a元/公里,(以a指代公司2018年对G1单元特定合同不含税销售价钱,本文中价钱数据选拔其对a的相对值列示),长盈通为此支付了1500万元定金,而且商定,若未达到最低年度提货量,长飞光纤将从定金中扣除500万元手脚负约补偿。
长盈通示意,由于采购长飞光纤的成本远高于自产光纤,连接推行框架左券将加多销售成本,影响利润,同期占用公司流动资金,增大筹划风险,2024年10月15日公告示意所将不再推行2023年-2025年的保偏光纤提货牵累,并承担1500万元的负约补偿牵累,牵累金额由已支付的1500万元定金中扣除。
除了2023年未完成采购量按商定已扣除500万元部分,剩下1000万元践约保证金,长盈通照旧2023年计提坏账准备100万元。以此狡计,本次签署废除左券将导致长盈通2024年利润总和减少900万元。受此影响,本年第三季度,长盈通净利润同比下跌1959.2%,环比下跌326.23%。
长飞光纤一样地处武汉光谷,是湖北省首家A+H上市企业,亦然皮亚斌的老东家,在创办长盈通之前,皮亚斌曾在长飞光纤及参股公司待了10余年,先后任技能司理、营销总监等职位。
收购筹议线路前夜,长盈通线路了2024年三季报。数据裸露,本年1-9月,长盈通终了营收1.83亿元,同比增长36.8%,但净利润由盈转亏为-456.28万元,同比大幅下滑270.13%;归母净利润为-369.48万元,同比下跌230.34%。
长盈通示意,2024年前三季度的买卖收入终了同比增长,主如果贫窭军工客户订单量加多,以及保偏光纤和光纤环器件拜托数目加多;归母净利润出现同比下跌,主如果说明保证金赔本导致非庸俗性损益加多。
海量资讯、精确解读,尽在新浪财经APP
牵累裁剪:王若云 开云kaiyun.com